
ZQDF防爆电磁阀是工业过程自动化控制系统用的执行器,它在接受电控信号后能自动开启或关闭阀门,实现对管道中流体介质的通断或流量调节控制,从而对系统中的温度、流量、压力等参数进行自动调节或远程控制。
本系列电磁阀产品可广泛应用于纺织、印染、化工、塑料、橡胶、制药、食品、建材、机械、电器、表面处理等生产和科研部门以及浴室、食堂、空调等人们日常生活设施中。ZQDF系列主要用于空气、蒸汽、煤气等气体介质的控制;ZQDF(Y)系列主要用于自来水、蒸馏水、冷冻盐水、电镀废液等液体介质,同时也用于粘度小于4°E的油类。

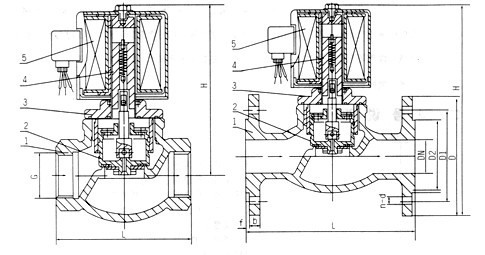
三、防爆电磁阀--结构说明

| 型号 | ZQDF-1 | ZQDF-2 | ZQDF-3 | ZQDF-1Y | ZQDF-2Y | ZQDF-3Y |
| 公称压力MPa | 1.6 | |||||
| 工作压差MPa | DN15~50 | 0~1.6 | ||||
| DN65~100 | 0.05~1.6 | |||||
| 介质种类 | 煤气、空气等 | 饱和蒸汽 | 过热蒸汽或高温气体 | 水油液体 | 热水、油 | 油 |
| 介质温度℃ | ≤60 | ≤180 | ≤220 | ≤60 | ≤180 | ≤220 |
| 电源电压 | AC220V其余规格可作特殊订货 | |||||
| 使用寿命 | 按JB/T7352-94规定 | |||||
| 泄漏量m1/min | 按JB/T7352-94·F规定 | |||||
| 功耗 | AC≤70VA DC≤60W | |||||
|
公称通径
DN |
外形尺寸
|
内螺纹
|
外形尺寸
|
法兰连接
|
|||||||
|
H
|
L
|
G
|
H
|
L
|
D
|
D1
|
D2
|
b
|
f
|
N-d
|
|
|
15
|
148
|
92
|
1/2
|
176
|
130
|
95
|
65
|
46
|
14
|
2
|
4-Φ14
|
|
20
|
148
|
92
|
3/4
|
181
|
150
|
105
|
75
|
56
|
16
|
2
|
4-Φ14
|
|
25
|
148
|
110
|
1
|
210
|
160
|
115
|
85
|
65
|
16
|
3
|
4-Φ14
|
|
32
|
182
|
120
|
11/4
|
221
|
180
|
140
|
100
|
76
|
18
|
3
|
4-Φ18
|
|
40
|
182
|
140
|
11/2
|
230
|
200
|
150
|
110
|
84
|
18
|
3
|
4-Φ18
|
|
50
|
192
|
162
|
2
|
252
|
230
|
165
|
125
|
99
|
20
|
3
|
4-Φ18
|
|
65
|
|
|
|
265
|
290
|
185
|
145
|
118
|
20
|
3
|
4-Φ18
|
|
80
|
|
|
|
276
|
310
|
200
|
160
|
132
|
20
|
3
|
8-Φ18
|
|
100
|
|
|
|
373
|
350
|
220
|
180
|
156
|
22
|
3
|
8-Φ18
|
1、安装时电磁阀线圈向上,并保持垂直位置,电磁阀上箭头或标记应与管道流向一致,不得安装在有溅水或漏水的地方。
2、电磁阀的工作介质应清洁无颗粒杂质,电磁阀内件表面上的污物及过滤器,须定期清洁干净。
3、在电磁阀发生故障时,为了及时隔离电磁阀,并保证系统正常运行,最好安装旁路装置(如图一)。注意:旁路上的阀门平时须关闭。如果电磁阀安装在支架上,电磁阀的通径应小于主管道上阀门的通径。如图(二)。
4、安装电磁阀前,管道必须清洗干净。建议在阀前安装过滤器,蒸汽管道安装疏水阀。
5、不要将阀安装在管道的低凹处,以免因蒸汽冷凝水、杂质等沉淀在阀内而防碍动作。
6、普通型不可在爆 炸危险场合使用。
7、在管道刚性不足情况下,建议把阀前后管子用支架固定,以防电磁阀工作时引起振动
8、在安装前,要注意看清产品标牌,认真阅读使用说明书,判断产品是否符合使用条件。
9、电磁阀前后管道需安装上压力表,以便观察管道压力。