热门关键词: 铸铁升降式止回阀 铸铁内螺纹旋启式止回阀 铸铁内螺纹升降式止回阀 铸钢立式止回阀
咨询热线
15904095592
ZQDF(Y)蒸汽(液用)电磁阀是工业过程自动化控制系统用的执行器,它在接受电控信号后能自动开启或关闭阀门,实现对管道中流体介质的通断或流量调节控制,从而对系统中的温度、流量、压力等参数进行自动调节或远程控制。
本系列电磁阀产品可广泛应用于纺织、印染、化工、塑料、橡胶、制药、食品、建材、机械、电器、表面处理等生产和科研部门以及浴室、食堂、空调等人们日常生活设施中。ZQDF系列主要用于空气、蒸汽、煤气等气体介质的控制;ZQDF(Y)系列主要用于自来水、蒸馏水、冷冻盐水、电镀废液等液体介质,同时也用于粘度小于4°E的油类。

耐腐:主要部件阀塞,阀体等采用不锈钢和铸钢制成,防腐性能良好。
耐热:电磁、密封部分全部采用特种耐高温电工材料和密封材料,并采用了有效的隔热措施。
耐磨:选材合理,阀塞与阀体间巧妙地利用流体的润滑作用,减少磨损。
耐冷凝:蒸汽管道的冷北水是影响蒸汽电磁阀动作的重要因素,本阀则不受冷凝水影响。
本阀为分步动作直接先导式电磁阀,可根据断电时所处开、关状态的不同,可分为常闭式电磁阀和常开式电磁阀。常闭电磁阀,线圈通电后,衔铁在电磁力作用下先带动副阀阀塞提起,主阀阀杯上的流体经副阀流走,减少了作用在主阀阀杯上的压力,当主阀阀杯上的压力减少到一定值时,衔铁带动主阀阀杯,并利用压差而使主阀阀杯开启,介质流通。线圈断电后,电磁力消失,衔铁因自重下落复位。同时依靠介质压力,主副阀得以紧密关闭。常开电磁阀,线圈通电后由于吸力作用,动铁芯下移,把副阀阀塞压下,副阀关闭,主阀阀杯内压力上升,当压力升到一定值时,主阀阀杯的上下压差一样,由于电磁力作用,动铁芯失去主阀阀杯下,压紧主阀阀座,阀门关闭。线圈断电时,电磁吸力为零,副阀阀塞和支铁芯由于弹簧作用向上提起,副阀打开,主阀阀杯上的流体经副阀流走,减少了作用在主阀阀杯上的压力,当主阀阀杯上的压力减少到一定值时,利用压差把主阀阀杯推起,主阀打开,介质流通。

|
型号
|
ZQDF-1
|
ZQDF-2
|
ZQDF-3
|
ZQDF-1Y
|
ZQDF-2Y
|
ZQDF-3Y
|
|
公称压力MPa
|
1.6
|
|||||
|
工作压差MPa
|
DN15~50
|
0~1.6
|
||||
|
DN65~100
|
0.05~1.6
|
|||||
|
介质种类
|
煤气、空气等
|
饱和蒸汽
|
过热蒸汽或高温气体
|
水油液体
|
热水、油
|
油
|
|
介质温度℃
|
≤60
|
≤180
|
≤220
|
≤60
|
≤180
|
≤220
|
|
电源电压
|
AC220V其余规格可作特殊订货
|
|||||
|
使用寿命
|
按JB/T7352-94规定
|
|||||
|
泄漏量m1/min
|
按JB/T7352-94·F规定
|
|||||
|
功耗
|
AC≤70VA DC≤60W
|
|||||
|
防爆标志
|
dIIBT4
|
|||||
|
防爆证编号
|
CE991010
|
|||||
|
出线口接头
|
内螺纹M20×1.5
|
|||||
|
环境温度
|
-40~+60℃
|
|||||
|
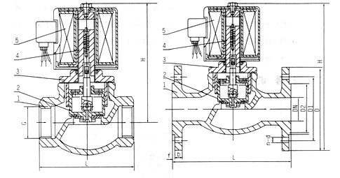
公称通径
DN |
外形尺寸
|
内螺纹
|
外形尺寸
|
法兰连接
|
|||||||
|
H
|
L
|
G
|
H
|
L
|
D
|
D1
|
D2
|
b
|
f
|
N-d
|
|
|
15
|
148
|
92
|
1/2
|
176
|
130
|
95
|
65
|
46
|
14
|
2
|
4-Φ14
|
|
20
|
148
|
92
|
3/4
|
181
|
150
|
105
|
75
|
56
|
16
|
2
|
4-Φ14
|
|
25
|
148
|
110
|
1
|
210
|
160
|
115
|
85
|
65
|
16
|
3
|
4-Φ14
|
|
32
|
182
|
120
|
11/4
|
221
|
180
|
140
|
100
|
76
|
18
|
3
|
4-Φ18
|
|
40
|
182
|
140
|
11/2
|
230
|
200
|
150
|
110
|
84
|
18
|
3
|
4-Φ18
|
|
50
|
192
|
162
|
2
|
252
|
230
|
165
|
125
|
99
|
20
|
3
|
4-Φ18
|
|
65
|
|
|
|
265
|
290
|
185
|
145
|
118
|
20
|
3
|
4-Φ18
|
|
80
|
|
|
|
276
|
310
|
200
|
160
|
132
|
20
|
3
|
8-Φ18
|
|
100
|
|
|
|
373
|
350
|
220
|
180
|
156
|
22
|
3
|
8-Φ18
|
1、安装时电磁阀线圈向上,并保持垂直位置,电磁阀上箭头或标记应与管道流向一致,不得安装在有溅水或漏水的地方。
2、电磁阀的工作介质应清洁无颗粒杂质,电磁阀内件表面上的污物及过滤器,需定期清洁干净。
3、在电磁阀发生故障时,为了及时隔离电磁阀,并保证系统正常运行,最好安装旁路装置(如图一)。
4、在管路系统中,安装在支路上的电磁阀通径应小于主管道阀门的通径(如图二)。
5、安装电磁阀前,管道必须清洗干净。建议在阀前安装过滤器,蒸汽管道安装疏水阀。
6、不能将阀安装在管道的低凹处,以免因蒸汽冷凝水、杂质等沉淀在阀内而防碍动作。
7、普通型不能在爆炸危险场合使用。
8、在管路刚性不足情况下,建议把阀前管道用支架固定,以免电磁阀工作时引起振动。
9、在安装前,要注意看清产品标牌,认真阅读使用说明书,判断产品是否符合使用条件。
10、电磁阀前后管道上需安装压力表,以便观察管道压力。

1、建议使用单位派专人负责使用保养。
2、电磁阀安装后需通入介质实验动作数次,确认正常后方可投入正式使用。
3、应定期清洗大阀内外及衔吸合面的污物,注意不要损坏密封面。
4、电磁阀较长时间不用时,应关闭阀前手动阀,重新启用时,蒸汽电磁阀应将冷凝水排除干净,并作试动作数次,待开关正常后方可投入使用。
5、电磁阀从管路上卸下不用时,应将内部零件拭净并用压缩空气吹净储存。
6、使用时间较长时,如活塞与阀座间密封不好,可将活塞密封面重新磨平,再和阀座研磨。
7、工作时,要注意阀门前后压力表,要求工作压力不得超过额定压力,工作压差必须在额定压差范围内。当工作压力超过额定压力或工作压差超过额定压差时,电磁阀要停止使用,关闭前后手动阀,以免电磁阀爆炸和泄漏。
1、订货时请注明型号、公称通径、公称压力、工作介质、工作压差、介质温度、电源电压及频率、介质粘度。
2、阀门的开通时间达12小时以上,请选用常开式电磁阀。当使用环境周围有易燃易爆品,请选用防爆型电磁阀。(防爆型结构如下图三)

3、电磁阀正常工作时的电压为220+22V/220-15V,如超过此范围,请订货时注明电压波动量。其它规格电源电压可做特殊订货。